
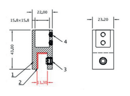
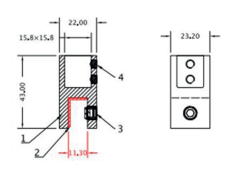
Glass-to-ceiling support bar connector made from durable stainless steel 304 and brass, featuring a brushed gold finish, designed to secure a 19 mm stabilizer or support bar from glass to ceiling in frameless shower enclosures for reliable anchoring and stabilization.